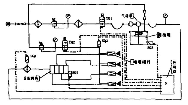
不論是在回轉窯或是球磨機等大型齒輪潤滑設備中,開式單輪型自動油脂噴霧裝置都可以在其中使用。且他們都是由氣動泵、噴嘴部件以及閥塊和其他相關設備所構成,如圖所示:

他對于回轉窯內各設備的潤滑,可以是間斷的進行,可以給齒輪一直供應油膜,在控制器方面可以設多個潤滑時間段,并且具備完善的故障監控功效,還可以對回轉窯的噴嘴處防止堵塞的出現,起到反吹的功效。
對于自動油脂噴霧系統裝置的原理,有以下詳細介紹:
a、在回轉窯運轉中,使吹氣電磁閥處于打開狀態,當氣路壓力到了給定的數值時,壓力檢測開關將會關閉,啟動泵開始運轉。定量的油脂從窯內分配閥輸送到噴嘴,在噴嘴內霧化后噴向齒輪表面。
b、泵輸出的壓力油脂推動分配閥塊周期工作,當回轉窯分配閥的工作周期達到設定值時,電磁閥關閉,泵停止工作。
c、回轉窯控制器中延時功能可促使氣路電磁閥的關閉滯后于油路,實現反吹功能,吹凈噴嘴上的殘油,防止噴嘴堵塞。
d、反吹停止后,一個潤滑時間段結束,系統停止供油。按照控制器設定好的工作時間段,進行下一個工作時間段,重復運轉以上過程。
e、控制器監控回轉窯內各系統工作。
控制器主要用于回轉窯的配套遞進式分油器的潤滑系統,通過檢測分油器上信號的關閉與打開來達到記憶控制。內部電腦具有記憶功能,電源開關的通斷不影響定時,設定數據以及掉電時數據都可以長期存儲,分油器出油口的循環注油次數以及注油時間間隔都可以由控制器來設定。
此系統在回轉窯運轉中的故障及處理:①、在系統的調試階段,啟動泵運行不穩定。檢查法線氣路壓力表指示值跳動,較小低于0.21MPa,氣動泵無法正常運轉,經分析了解到是因為運轉中的起源來自回轉窯窯尾的空壓機,間距較遠,系統不能夠建立正常的壓力所導致的。②、在該系統調試運行時,應該注意系統應該保持有足夠的氣源氣量和氣壓,以此保證氣動泵正常運轉。另外系統的氣管選擇要合適,以盡量減少回轉窯內管路壓力的損失,控制器的參數窯合理控制,通過較佳噴霧頻率來保證潤滑面的油膜的均勻,在運行過程中應運用潔凈的潤滑脂,在一定的時間對反吹功能的運轉進行檢測,及時清洗管路過濾器,以此保證分配閥塊和噴嘴的通暢。
本文章由豫暉回轉窯網提供:http://www.t3130.com/
回轉窯相關文章推薦:回轉窯內能耗的降低以及控制水平的提高