背景技術:
現有回轉窯的窯頭在生產過程中直接用未加熱的自然風進行助燃,不利于提高煤氣的燃燒和熱能的充分利用,存在有加熱速度緩慢、燃氣浪費嚴重、氣體燃燒不凈、使用成本較高等不足,不能適用所倡導的“高效節能減排”的要求,亟需進行改進來解決這個問題。
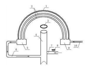
一種回轉窯窯頭助燃風加熱裝置,包括窯頭和窯口,在窯頭端部設置有通風管道,通風管道一端與冷風風箱連接、另一端與熱風風箱連接,熱風風箱通過熱風管道與氣風混合管道相連通,氣風混合管道與燃氣管道相連通,在燃氣管道與氣風混合管道之間設置有旋緊閥門。

結構標注:1、窯頭;2、通風管道;3、窯口;4、混合管道;5、熱風風箱;6、熱風管道;7、燃氣管道;8、旋緊閥門;9、冷風風箱。
通過在回轉窯窯頭設置通風管道,利用窯頭的熱能將通風管道加熱,然后再把自然風從一端管道通過冷風風箱引進窯頭處,自然風被窯頭處的余熱量進行加熱后變成溫度可達300度的加熱風,加熱風與燃氣混合后將燃氣送至回轉窯窯口進行燃燒,有助于燃氣的充分燃燒,提高熱能的利用,從而減少燃氣的使用量,進而達到高效節能減排的效果,節約成本,提高生產效率。